ADA

Syrefast Overgang

  • Syrefast Overgang
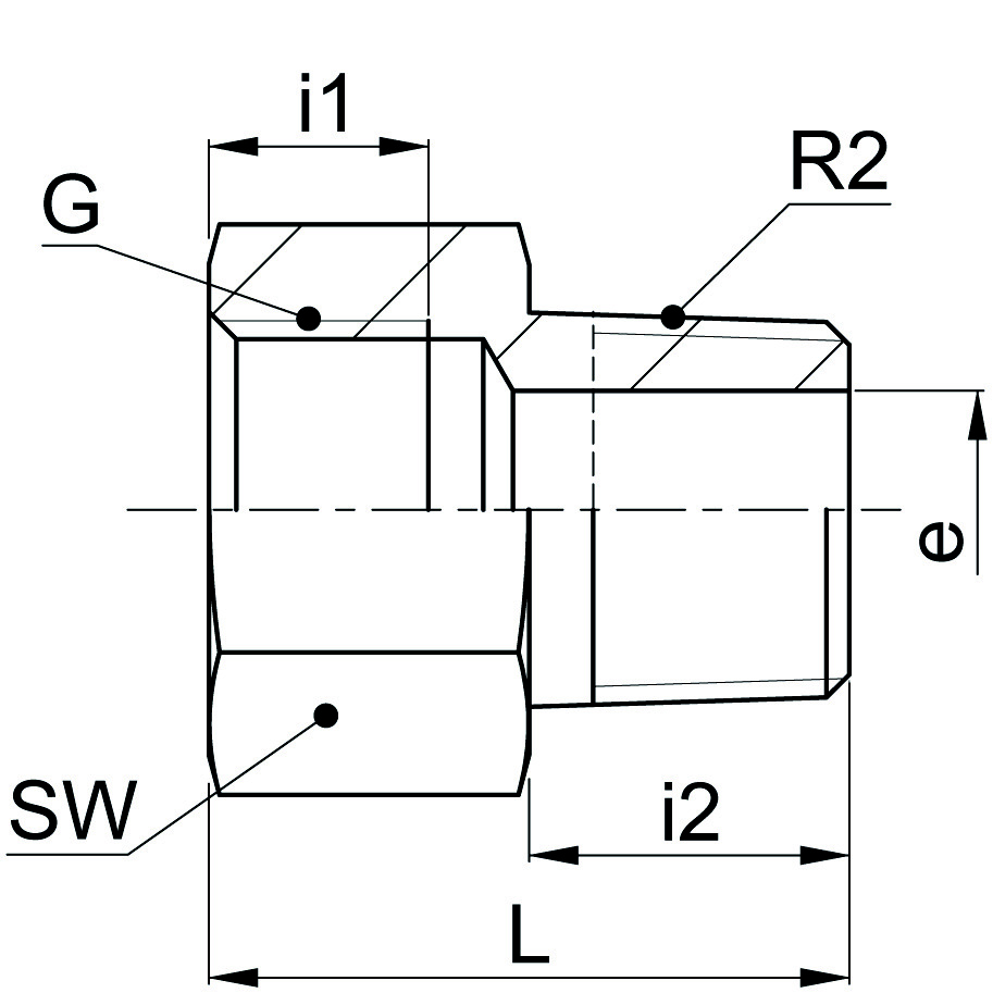
  • G = Cylindrisk indvendigt gevind
  • R = Konisk udvendigt gevind
  • AISI316Ti, 1.4571
Vis alle mål +
Artikel nummer VVS-nummer GxRSWLi1i2eFiler
TAD5120042 1/8"×1/8"142189.56
TAD5120104 1/4"×1/4"1726912.58
TAD5120166 3/8"×3/8"22279.512.510.5
TAD5120228 1/2"×1/2"2735111813
TAD5120292 3/4"×3/4"3240141921
TAD5120414 1"×1"4145172126
TAD5120102 1/4"×1/8172399.56
TAD5120164 3/8"×1/4"22289.512.58
TAD5120224 1/2"×1/4"273111.5128
TAD5120226 1/2"×3/8"273011.512.510.5
TAD5120288 3/4"×1/2"32391417.513
TAD5120408 1"×1/2"41451717.513
TAD5120412 1"×3/4"4145171921
TAD5124042 1/8"×1/8"142189.56
TAD5124104 1/4"×1/4"17269128
TAD5124166 3/8"×3/8"22279.512.510.5
TAD5124228 1/2"×1/2"273511.517.513
TAD5124292 3/4"×3/4"3240141921
TAD5124414 1"×1"4145172126
TAD5125042 1/8"×1/8"1421109.56
TAD5125104 1/4"×1/4"172914128
TAD5125166 3/8"×3/8"2229141210.5
TAD5125228 1/2"×1/2"27381817.513
TAD5125292 3/4"×3/4"3243201921
TAD5125414 1"×1"3645232126
TAD5124102 1/4"×1/8"1723996
TAD5124164 3/8"×1/4"22289.512.58
TAD5124224 1/2"×1/4"273211.512.58
TAD5124226 1/2"×3/8"273011.51210.5
TAD5124288 3/4"×1/2"32391417.513
TAD5124412 1"×3/4"4145171921
TAD5121102 1/4"×1/8"172610.29.56
TAD5121164 3/8"×1/4"223010.312.58
TAD5121224 1/2"×1/4"273513.512.58
TAD5121226 1/2"×3/8"273513.512.510.5
TAD5121288 3/4"×1/2"324313.81713
TAD5121408 1"×1/2"364817.41713
TAD5121412 1"×3/4"364817.41921
Datablad