SO 21300

PVDF fitting – Serto

PVDF Forbindelsesnippel
  • PVDF Forbindelsesnippel
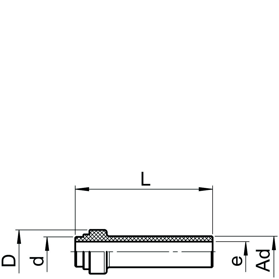
Vis alle mål +
Artikel nummer VVS-nummer dxAdbareLDFiler
1261300060 6/4-A6104278.6
1261300080 8/6-A81062810.6 CAD/Step
1261300100 10/8-A101083312.6 CAD/Step
1261300120 12/10-A1210103714.6 CAD/Step
1261300122 12/9-A121093714.6 CAD/Step
1261300160 16/13-A16101347.519.7 CAD/Step
Datablad