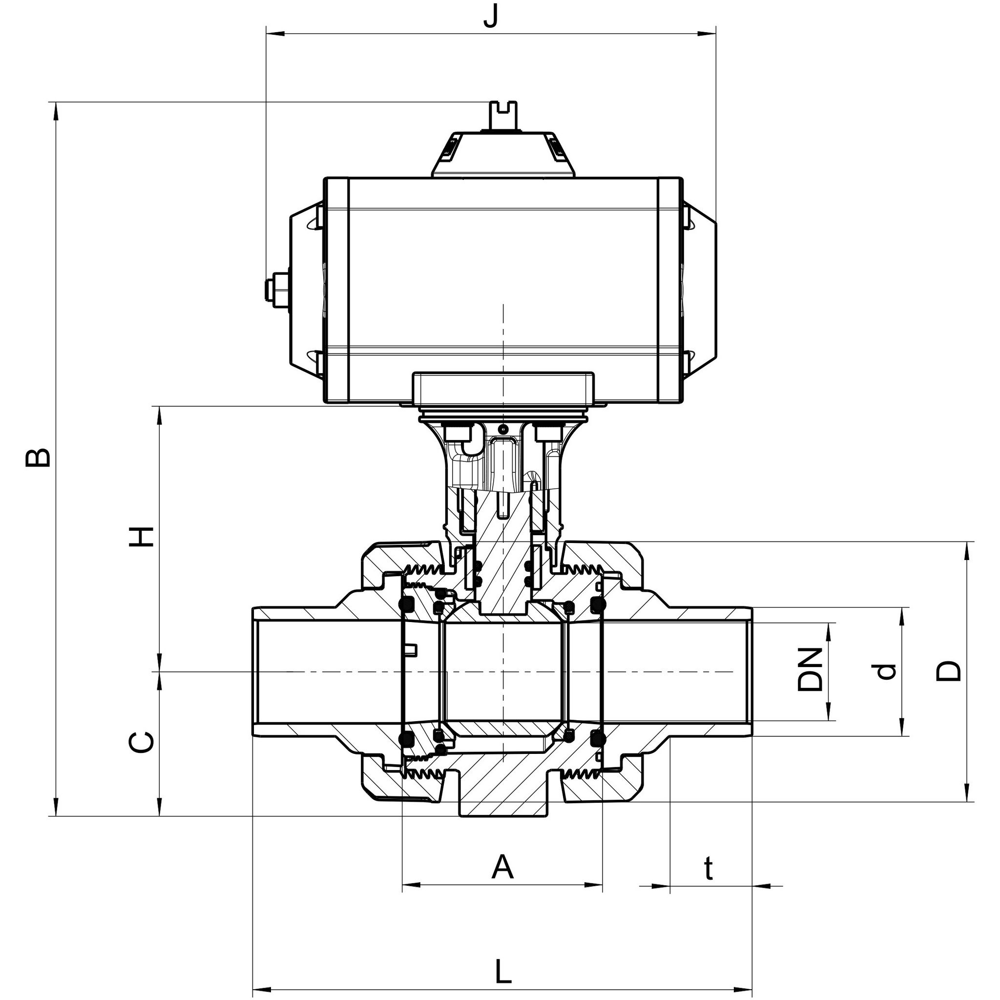
PP K ugleventil PE indsatsbakker udvendig svejsning Pneumatisk aktuatorer - normalt lukket/fjeder retur (DA) Udstyret med Dual block, låsning af omløberen, samt mulighed for montering af identifikationsskilt. Faste sæde, en side kan demonteres under fuldt tryk. PN10 E=EPDM V=FPM Max 80°C Tilslutning luft: 1/4 Namur Styretryk: 5,5-8 Bar Optisk positionsindikering