T4DM-E

PP Membranventil udv. svejsning EPDM

  • PP T4 Membranventil med låsebart håndtag
  • Med udv. svejseender for stuksvejsning
  • Nyt design med højere Kv-værdi
  • PN10
  • E=EPDM
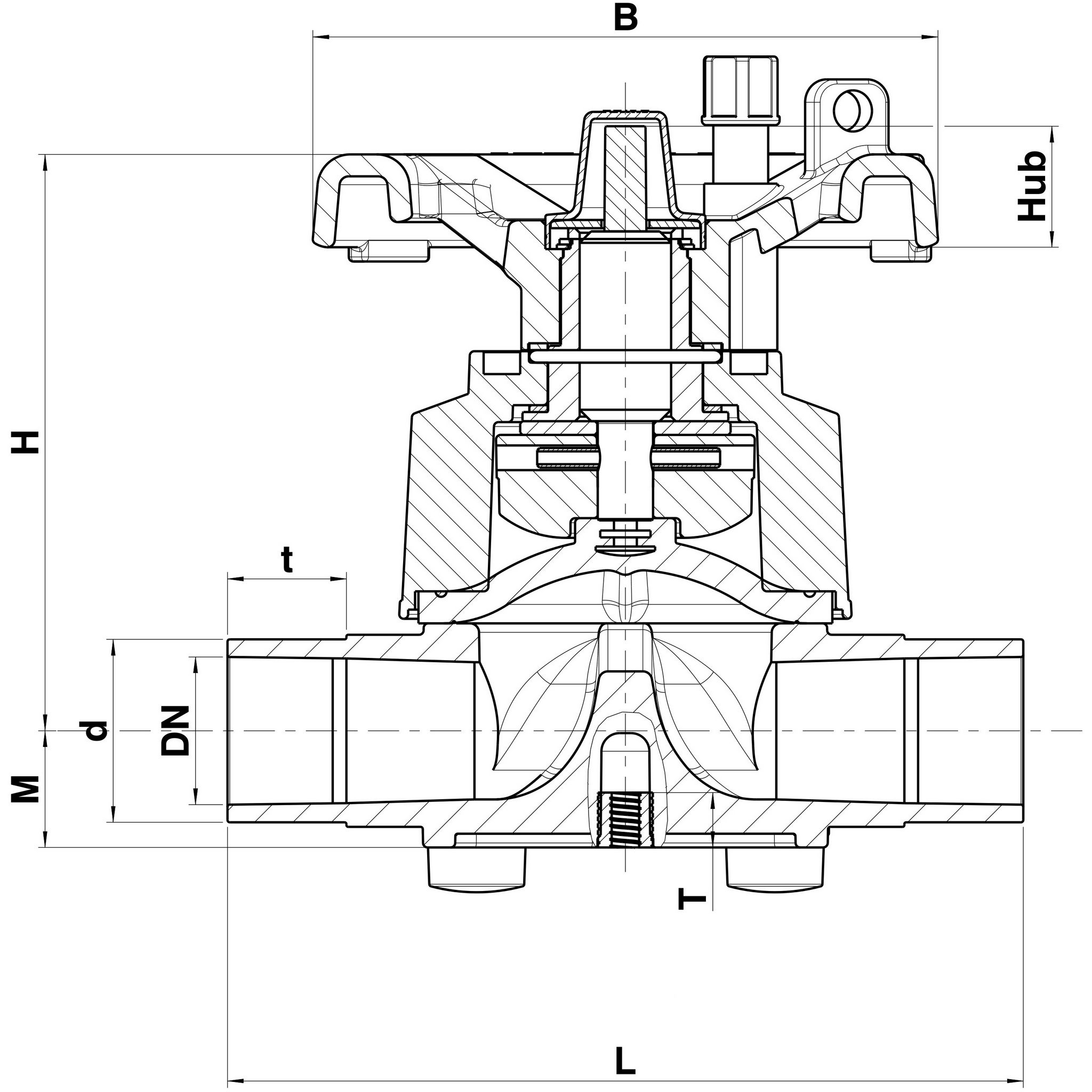
Vis alle mål +
Artikel nummer dDNMHLTtBHubFiler
T4DM-E-020 2015171001241216–28,5869 CAD/Step
T4DM-E-025 2520171001441219–36869 CAD/Step
T4DM-E-075 7565101724628412044 CAD/Step
Datablad

Tilbehør

M/T4

Membran til membranventil T4